Щитки квартирные серии ЩКУ(Н)

Описание

Квартирные щитки серии ЩКУ(Н) выпускаются для установки внутри жилых помещений многоквартирных зданий и предназначены для распределения и учёта (при наличии счетчика) электрической энергии напряжением 230 В, а также для защиты групповых линий при перегрузках, коротких замыканиях и недопустимых токах утечки на землю при использовании устройств защитного отключения. Изделия рассчитаны на работу в сетях 230/400 В, частотой 50 Гц, с глухозаземлённой нейтралью (системы TN‑S и TN‑C‑S).

Щитки квартирные серии ЩКУ(Н)
Конструкция щитков предусматривает размещение вводного аппарата, прибора учёта (в соответствующих исполнениях), групповых автоматических и дифференциальных выключателей, а также клеммных блоков N и PE. В зависимости от исполнения щитки выпускаются в навесном и встраиваемом вариантах, в оболочках класса I или II, и рассчитаны на установку модульного оборудования стандартной ширины 18 мм. Количество модулей определяется типоисполнением и позволяет подобрать щиток под требуемое число линий и вводных устройств.
Структура условного обозначения
ЩКУ(Н)II-СЭ-IT/Сч-NХ-XУХЛ4 Щиток квартирный.
ЩКУ(Н)II-СЭ-IT/Сч-NХ-XУХЛ4 Исполнение по виду установки:
У – встраиваемое (в нишу),
Н – навесное.
ЩКУ(Н)II-СЭ-IT/Сч-NХ-XУХЛ4 Класс по способу защиты от поражения электрическим током:
II – класс II (пластиковые щитки),
Знак не проставляется – класс I (металлические щитки).
ЩКУ(Н)II-СЭ-IT/Сч-NХ-XУХЛ4 Серия разработки компании «Стандарт Энерго».
ЩКУ(Н)II-СЭ-IT/Сч-NХ-XУХЛ4 Номинальный ток вводного аппарата, А.
ЩКУ(Н)II-СЭ-IT/Сч-NХ-XУХЛ4 Тип вводного аппарата:
А – автоматический выключатель;
B – выключатель нагрузки;
АD(ΔI) – дифференциальный автоматический выключатель (АВДТ) с защитой от сверхтоков,<>br где ΔI – номинальный дифференциальный ток, мА;
AFD – устройство защиты от дугового пробоя УЗДП (AFDD).
ЩКУ(Н)II-СЭ-IT/Сч-NХ-XУХЛ4 Наличие счетчика указывается индексом «Сч». При отсутствии счётчика индекс не проставляется.
ЩКУ(Н)II-СЭ-IT/Сч-NХ-XУХЛ4 Количество отходящих линий, защищаемые автоматическими (дифференциальными) выключателями.
ЩКУ(Н)II-СЭ-IT/Сч-NХ-XУХЛ4 Общее количество модулей оболочки щитка (1 модуль = 18мм).
ЩКУ(Н)II-СЭ-IT/Сч-NХ-XУХЛ4 Степень защиты оболочки щитка по ГОСТ 14254.
ЩКУ(Н)II-СЭ-IT/Сч-NХ-XУХЛ4 Климатическое исполнение и категория размещения по ГОСТ 15150.
Пример обозначения при заказе: ЩКУII-СЭ-50АD(100)/Сч-0724-41УХЛ4.
Щиток квартирный встраиваемый II класса (пластиковый), серии «Стандарт Энерго» с вводным дифференциальным автоматическим выключателем 2Р 50 А 100 мА, со счётчиком, с 7 отходящими линиями, на 24 модулей, степенью защиты IP41, климатического исполнения УХЛ4.
Технические данные:
Номинальное рабочее напряжение щитка – 230 В (однофазная сеть 230/400 В, 50 Гц);
Номинальные токи вводных выключателей – 25–63 А;
Номинальные отключающие дифференциальные токи – 10 мА, 30 мА, 100 мА, 300 мА;
Предельная отключающая способность выключателей – 4,5–10 кА;
Вид системы заземления – TN-S, TN-C-S;
Степень защиты оболочки щитка при открытой дверце по ГОСТ 14254: IP20;
Степень защиты оболочки щитка при закрытой дверце по ГОСТ 14254: IP31, IP41, IP54;
Количество модулей – от 12 до 54;
Класс защиты по ГОСТ IEC 61140: Класс I — металлические щитки (наличие заземляемых открытых проводящих частей), Класс II — пластиковые щитки (двойная или усиленная изоляция, отсутствие необходимости в заземлении);
Климатическое исполнение и категория размещения по ГОСТ 15150 – УХЛ4;
Щитки квартирные серии ЩКУ(Н) соответствуют ГОСТ IEC 61439-1-2013 и ТУ 27.12.31-001-73292507-2024.
Схемы
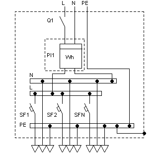
Схема электрическая щитка квартирного с автоматическим выключателем на вводе,
с счетчиком или без, где N – количество отходящих аппаратов
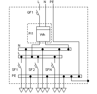
Схема электрическая щитка квартирного с автоматическим выключателем
Схема электрическая щитка квартирного с выключателем нагрузки на вводе,
с счетчиком или без, где N – количество отходящих аппаратов
Схема электрическая щитка квартирного с выключателем нагрузки
Схема электрическая щитка квартирного с дифференциальным автоматическим выключателем на вводе,
с счетчиком или без, где N – количество отходящих аппаратов
Схема электрическая щитка квартирного с дифференциальным автоматическим выключателем на вводе
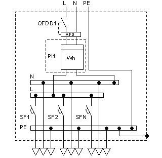
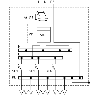
Схема электрическая щитка квартирного с устройством защиты от дугового пробоя (УЗДП) на вводе,
с счетчиком или без, где N – количество отходящих аппаратов
Схема электрическая щитка квартирного с устройством защиты от дугового пробоя (УЗДП) на вводе
Примечание: для щитков класса II перемычка между шиной PE и корпусом отсутствует.
Скачать каталог Щитки квартирные серии ЩКУ(Н)